A Sony registrou o conceito de uma tecnologia baseada em inteligência artificial (IA) que, em essência, poderia jogar pelo usuário. Batizada de "Ghost Player" (Jogador Fantasma, em tradução direta), a ferramenta permitiria que jogadores travados entregassem o controle à máquina para superar trechos ou até fases inteiras dos jogos. A patente, destacada recentemente pela VGC, foi originalmente registrada em setembro de 2024, mas a Organização Mundial da Propriedade Intelectual (OMPI) só divulgou o relatório sobre seu status nesta semana. Confira detalhes, a seguir!
Entenda como funcionaria nova tecnologia de IA patenteada pela SOny para jogar games por você — Foto: Reprodução/PS Blog Ghost Player: entenda mais sobre patente da Sony
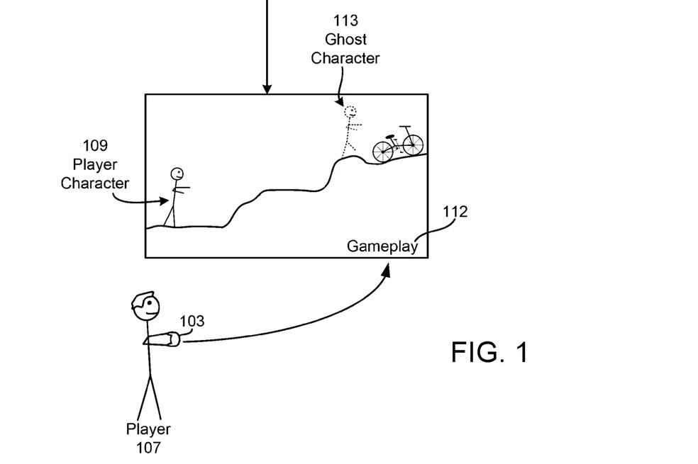
Na teoria, o Ghost Player seria treinado usando gravações do jogo em questão já existentes online, excluindo assim a necessidade de o desenvolvedor fornecer imagens pré-gravadas. Isso possibilitaria que o sistema de assistência ajudasse os jogadores a progredir em desafios de plataforma, resolver quebra-cabeças ou executar comandos no mouse, no teclado ou nos controles durante combates.
Os documentos da patente descrevem dois modos de funcionamento do recurso. No Guide Mode, um "fantasma" controlado por IA indicaria o caminho a seguir antes que o player tomasse a iniciativa. Já no Complete Mode, o sistema seria capaz de superar o obstáculo ou concluir a fase inteira sem que o usuário precisasse executar nenhum comando.
Ghost Player mostraria 'fantasma' do personagem para ajudar a avançar na gameplay — Foto: Reprodução/OMPI via VGC Hoje, há jogos que oferecem assistência de forma sutil. Em Resident Evil 4 Remake tem um sistema de dificuldade que ajusta a agressividade dos inimigos e a chance de drops de cura e munição em certas áreas. Em God of War, Mimir e Atreus sugerem soluções para puzzles, enquanto GTA 5 e Red Dead Redemption 2 disponibilizam "trapaças" que podem ser ativadas a qualquer momento.
O Ghost Player poderia funcionar como uma evolução da função Ajuda do Jogo (Game Help) do PlayStation 5 (PS5), que oferece dicas e tutoriais para auxiliar usuários em títulos compatíveis sem sair do jogo. No entanto, não existem evidências de que a Sony pretenda usar a tecnologia em futuros hardwares, e o registro de uma patente não garante que ela será lançada.
Veja também: ROG Xbox Ally X VALE O SEU PREÇO? Testamos!!
ROG Xbox Ally X VALE O SEU PREÇO? Testamos!!

German (DE)
English (US)
Spanish (ES)
French (FR)
Hindi (IN)
Italian (IT)
Portuguese (BR)
Russian (RU)
20 horas atrás
2
/https://i.s3.glbimg.com/v1/AUTH_08fbf48bc0524877943fe86e43087e7a/internal_photos/bs/2026/W/R/d9vjPnS3CbHqRkjg3Aqg/zephyrus-g16-1-.jpg)
/https://i.s3.glbimg.com/v1/AUTH_08fbf48bc0524877943fe86e43087e7a/internal_photos/bs/2026/V/6/KXh4V7TiGxBOrVND25AA/techtudo.png)

/https://i.s3.glbimg.com/v1/AUTH_08fbf48bc0524877943fe86e43087e7a/internal_photos/bs/2026/A/6/Ewx8qiQdqjlBSQ9EjIpA/zephyrus-duo-8-.jpg)

:strip_icc()/i.s3.glbimg.com/v1/AUTH_59edd422c0c84a879bd37670ae4f538a/internal_photos/bs/2023/l/g/UvNZinRh2puy1SCdeg8w/cb1b14f2-970b-4f5c-a175-75a6c34ef729.jpg)










Comentários
Aproveite ao máximo as notícias fazendo login
Entrar Registro